ضاغط الغاز
آلة ضاغطة للغاز (إنگليزية: gas compressor) أو آلة ضاغطة compressor هي آلة ميكانيكية تستخدم لزيادة ضغط الغاز وذلك بتقليل الحجم. وهو شبيه للمضخة فكليهما يزيد الضغط على الموائع وكليهما ينقل المادة المضغوطة خلال انبوب, والفرق بينهما أن الغازات مواد قابلة للضغط فالآلة الضاغطة يقلل من حجمها ولكن السوائل مواد غير قابلة للضغط فالمضخة تستخدم لنقل السوائل.
تعريف
الآلة الضاغطة للغاز ، هي آلة تعمل على تحريك ورفع طاقة الغاز المار عبرها، ونقله مضغوطاً عبر أنابيب إلى أماكن الاستخدام، أو تخزينه بحالة مضغوطة ونقله بعد ذلك إلى تلك الأماكن. يتم تقديم الطاقة للضاغط من محرك كهربائي أو محرك احتراق داخلي (ديزل مثلاً) ، ويتم نقل الحركة من المحرك إلى الزمرة الضاغطة من القطعات بوصله مباشرة إلى محور الدوران أو عن طريق جملة نقل حركة. وتـُوصف الآلة الضاغطة بمجموعة البارامترات الآتية التي تميز آلة ضاغطة من أخرى:
- التدفق (ويقاس بالمتر المكعب في الثانية m3/s) ويعرف بأنه كمية الهواء المارة عبر الآلة الضاغطة في واحدة الزمن.
- ضغط الغاز عند مقطع الدخول إلى الآلة P1 ويقاس بالباسكال (Pa)، وكذلك الضغط عند مقطع الخروج P2[Pa ] ويقاس بالباسكال (Pa) أيضاً، أي من خلال معامل الانضغاطية الذي يعرف بأنه ضغط الغاز عند مقطع الخروج منسوباً إلى ضغط الغاز عند مقطع الدخول.
- سرعة دوران الآلة الضاغطة n وتقدر بعدد الدورات في الدقيقة (r.p.m).
- الاستطاعة على محوره N وتقدر بالواط (watt).
تُصنف الآلة الضاغطة على أنها إحدى آلات الجريان التي تحوي أيضاً المضخات pumps والمراوح fans والعنفات turbine. وتتميز الآلة الضاغطة من المضخات بأنها تقدم الطاقة للهواء والغازات، في حين تقدم المضخات الطاقة للسوائل (ماء، زيوت، …).
تتشابه الآلات الضاغطة مع المراوح في عملهما على تحريك طاقة الهواء (الغاز) ورفعها، إلا أن المراوح تعمل بمعامل انضغاطية أصغر بكثير من ذلك الذي تعمل عليه الآلات الضاغطة.
تمثل الأنواع الثلاثة المذكورة (آلات ضاغطة ومراوح ومضخات) أنواع آلات الجريان التي تقدم الطاقة للموائع ، في حين تمثل العنفات الآلات التي تستفيد من طاقة المائع لتحولها إلى طاقة ميكانيكية تستخدم لتدوير منوِّبة وتوليد الطاقة الكهربائية. وتتشابه آلات الجريان كلها عموماً من حيث التصميم والشكل والأداء.
تصنيف الآلات الضاغطة
تُصنف الآلات الضاغطة حسب مبدأ عملها، في ثلاثة أنواع:
- الآلات الضاغطة الحجمية (أو ذات الإزاحة الموجبة positive-displacement compressors)، وتعمل عن طريق الضغط المباشر على المائع من خلال تغير الحجم الذي يحوي هذا السائل (الهواء أو الغاز).
- الآلات الضاغطة الحركية dynamic compressors (أو ذات الريش)، وتعمل عن طريق تحريك الغاز قسرياً وتحويل طاقته الحركية إلى طاقة كامنة (طاقة ضغط).
- وهناك نوع ثالث، هي الآلات الضاغطة النفاثة jet - type compressors التي تعتمد على مزج تيارين مختلفي القدرة من مائعين، مما يؤدي إلى رفع طاقة المائع ذي الطاقة الأخفض.
يحتوي كل صنف من الصنفين الأولين على أشكال وأنواع مختلفة من حيث التصميم والأداء، إلا أنها تعمل وفق المبدأ ذاته.
الآلات الضاغطة الحجمية
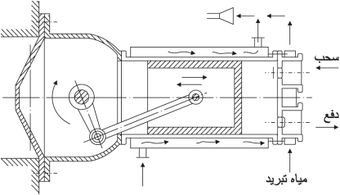
- الآلة الضاغطة المكبسية reciprocating compressor: وهي مؤلفة من مكبس يتحرك داخل أسطوانة بشوطين؛ شوط سحب يكون خلاله صمام السحب مفتوحاً ويدخل الهواء (الغاز) إلى حجرة المكبس، وشوط دفع (ضغط) يتحرك خلاله المكبس بالاتجاه المعاكس، مما يؤدي إلى تقليل حجم الحجرة التي تحوي الهواء ومن ثم انضغاطه عند وصول قيمة ضغط الهواء إلى حد معين، يؤدي إلى أن يُفتح صمام الدفع ويخرج الهواء المضغوط من الحجرة، كما هو مبين في الشكل 1.
ـ الآلة الضاغطة الدورانية rotary compressor: وهي محور دوران متوضع بشكل لا مركزي داخل الغلاف الخارجي للآلة الضاغطة، ومزود بصفائح قابلة للحركة قطرياً، بحيث تبقى ملامسة للجدار الداخلي لجسم الآلة الضاغطة. يتغير الحجم الذي يحوي المائع في أثناء دوران المحور، مما يؤدي إلى انضغاطه في أثناء حركته من قسم السحب إلى قسم الدفع، كما هو مبين في الشكل 2، ويميز من هذه الآلات الضاغطة نوعان:
أـ آلة ضاغطة دورانية ذي ريشات ثابتة rotary compressor with stationary.
ب ـ آلة ضاغطة دورانية ذي ريشات متحركة vane- type rotary compressor.
ـ آلة ضاغطة الحلزونية screw compressor: يتكون من محورين مسننين معشقين فيما بينهما، أحدهما قائد والثاني مقاد، يملأ الغاز التجاويف بين المسننات وفي أثناء الدوران يضغط و ينتقل من جزء السحب إلى جزء الدفع.
الآلة الضاغطة الحركية
وهي على نوعين أيضاً:
1ـ الآلة الضاغطة النابذة المركزية centrifugal compressors: وهي دوارة تحوي مجموعة من الريش، بحيث يدخل الهواء إلى الجزء العامل موازياً محور الدوران، ويخرج منه عمودياً على هذا المحور (أي بشكل قطري).
2ـ الآلة الضاغطة المحورية axial compressors: وتتألف أيضاً من مجموعة من الريشات، يدخل إليها الهواء ويخرج منها موازياً محور الدوران.
أنواع الآلة الضاغطة
آلة ضاغطة الطرد المركزي
آلة ضاغطة الطرد المركزي تكون مزودة بقرص دوار بها ريشات أو مروحة منحرفة الشكل بحيث توجه الغاز الداخل إلى نهاية طرف المروحة حتى تزداد سرعة الغاز. المقطع الناشر أو قناة التباعد تحول السرعة إلى ضغط. وهي تستخدم أساسا بالمصانع بشكل مستمر وثابت كمعامل تكرير النفط ومصانع الكيماويات والبتروكيماويات والغاز الطبيعي. قدرة تلك الآلات الضاغطة تبدأ من 100 حصان (75كيلو واط) وحتى الآلاف وتكون متعددة المراحل وبإمكانها استخلاص منها كمية ضغط أكثر من 10,000 psi.
عمليات تصنيع الثلج الكبيرة التي تستخدم للـتزلج تحتاج لمثل هذا النوع من الآلات الضاغطة, هناك استخدامات أخرى بالمحركات ذات الإحتراق الداخلي كشاحن إضافي supercharger أو شاحن توربيني Turbocharger. أيضا ضاغط الطرد المركزي يستخدم بمحركات التوربين الغازي الصغيرة أو كآخر مرحلة من مراحل الضغط الغازي للتوربينات الغازية المتوسطة الحجم.
آلة ضاغطة مائلة أو آلة ضاغطة الدفق المختلط
الآلة الضاغطة المائلة أو الدفق المختلط مشابه للآلة الضاغطة الطرد المركزي ولكن لها أدوات السرعة القطرية والمحورية عند مخرج العضو الدوار. الناشر يستخدم عادة لإدارة دفق المائل للإتجاه المحوري, ناشر الآلة الضاغطة المائلة له قطر أصغر قليلا من قرينه بالآلة الضاغطة المحورية.
آلة ضاغطة الدفق المحوري
آلة ضاغطة الدفق المحوري تستخدم سلسلة من شفرات شبه مراوح تحرك الدوار لتضغط على تدفق الغاز. وهناك الريشات الثابتة موضوعة بنهاية كل دوار لإعادة توجيه الدفق إلى شفرات الدوار التالي. مساحة المرور للغازات تقل خلال الآلة الضاغطة للمحافظة على السرعة المحورية المطلوبة. هذا النوع من الآلة الضاغطة يستخدم في التطبيقات العالية الدفق, مثل محركات التوربين الغازي المتوسطة والكبيرة الحجم, وتكون متعددة المراحل. تصميم معدل الضغط يتعدى 4:1, لها أشكال هندسية متعددة لتحسين التشغيل.
آلة ضاغطة مترددة
أنظر آلة ضاغطة مترددة
هي آلة ضاغطة يستخدم المكبس (البستون)ويحرك بواسطة العمود المرفقي (crankshaft) بالإمكان ان يكون ثابتا أو متحرك وأيضا متعدد المراحل أو بمرحلة واحدة و بالإمكان تشغيله بواسطة الكهرباء أو بواسطة محركات إحتراق داخلي. الآلة الضاغطة المترددة ذو الأحجام الصغيرة تبدأ من 5 إلى 30 وحدة حصان HorsePower تكون مستعملة على نطاق واسع بالسيارات وتكون ذات استخدام متقطع. أما الآلة الضاغطة المترددة والني قدرتها إلى 1000 وحدة حصان HorsePower فتستخدم بالتطبيقات الصناعية ولكن أعدادها بدأت تتناقص بسبب استبدالها بأنواع أخرى من الآلة الضاغطة. معدل التفريغ للضغط يبدأ من ضغط بسيط وحتى درجات عالية من الضغط > 5000 PSI أو 35 ميغا باسكال. بالتطبيقات المعينة كضغط الهواء, فالمناسب لها هو ضاغط متعدد المراحل ومزدوج الحركة, وهو عموما أكبر وأكثر إزعاجا و كلفة من نظيره الوحدة الدوارة.
تطبيقات الآلة الضاغطة للغاز
توجد تطبيقات الآلة الضاغطة للغاز في معظم المجالات التي تـُستخدم فيها غازات. من ضمنها الصناعة الكيميائية ومجالات أخرى من الصناعة وهندسة الطاقة مثل «تدفئة وتهوية وتكييف الهواء» (heating, ventilating, and air conditioning) عندما تـُضعط في دارات الرواج من آلاتها وأجهزتها الغازات التي تـُـنسب إليها وظيفة «مائع التبريد» (coolant).
أنظر أيضاً
- Cabin pressurization
- Centrifugal fan
- Compressed air
- Electrochemical hydrogen compressor
- Foil bearing
- Gas compression heat pump
- Guided rotor compressor
- Fire piston
- Hydrogen compressor
- Ionic liquid piston compressor
- Linear compressor
- Liquid ring compressor
- Hydride compressor
- Natterer compressor
- Roots blower (a lobe-type compressor)
- Pneumatic cylinder
- Pneumatic tube
- Tuyau-Trompe
- Vapor-compression refrigeration
- Variable speed air compressor
