مانع الاندفاع السطحي

(تم التحويل من Blowout preventer)
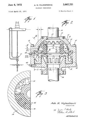
Cameron International Corporation's EVO Ram BOP Patent Drawing (with legend)
Patent Drawing of Hydril Annular BOP (with legend)
Patent Drawing of a Subsea BOP Stack (with legend)

مانع الاندفاع السطحي أو مانع الإنفجار السطحي blowout preventer، هي صمامات ضخمة تستخدم للسيطرة على الآبار أثناء عمليات الحفر أو حتى عمليات الآبار المختلفة.

تركب هذه الصمامات على فوهة البئر ويتم أغلاقها عند حدوث مشكلة خروج للغاز، تقوم هذه الصمامات بإغلاق مسار الغازات في الفراغ بين مواسير الحفر وبين أنابيب التغليف كما أن لها إمكانية اغلاق هذا الفراغ على العديد من أنواع ومقاسات المواسير المستخدمة (حفر - تغليف - أنابيب مرنة) وحتى غلق البئر المفتوحة بدون مواسير.[1]

تسمح موانع الإنفجار بعزل البئر والدخول اليه بطريقة محكمة للسيطرة على الضغوط الموجودة داخله. ويعتبر وجود موانع الإنفجار من الشروط الأساسية في أجهزة الحفر.

الاستخدامات

الاستخدامات الرئيسية لموانع الإنفجار:

  • Confine well fluid to the wellbore;
  • Provide means to add fluid to the wellbore;
  • Allow controlled volumes of fluid to be withdrawn from the wellbore.

الأنواع

تنقسم موانع الإنفجار إلى نوعين رئيسين، مانع الإنفجار الحلقي ومانع الإنفجار المكبسي. يتم جمع النوعين أثناء عمليات الحفر لضمان أكبر قدر من الأمان ويسمى هذا التركيب ببرج مانع الإنفجار. يركب برج مانع الإنفجار تحت منصة الحفر في أجهزة الحفر البريه والبحريه ولكن في أعمال الحفر في المياه العميقه يتم تركيب برج مانع الإنفجار تحت سطح الماء ويتم التحكم فيه بطريقه أوتوماتيكيه من السطح.

مانع الإنفجار الحلقي

Patent Drawing of Original Shaffer Spherical-type Blowout Preventer (1972)
Diagram of an Annular blowout preventer in open and fully closed configurations. The flexible annulus (donut) in blue is forced into the drillpipe cavity by the hydraulic pistons.

اكتسب هذا الإسم من شكل مانع التسرب الموجود بداخله على شكل حلقه. يتكون مانع التسرب في هذا النوع من كتله حلقيه من الكاوتش المسلح بقضبان خارجيه من الصلب تلتف على المحيط الداخلى لمانع الإنفجار. يوجد تحت هذه الكتله مكبس يعمل بضغط الزيت الهيدروليكي يقوم عند تشغيله بالضغط على الحلقه الكاوتش ليجبرها على التمدد وسد فراغ فتحة البئر حول المواسير.

المميزات

1-يحكم فتحة البئر بغض النظر عن مقاس الماسورة داخل فتحة البئر.

2-تصميم قوى ولا يحتاج الى الكثير من الصيانة.

3- حجم صغير يتيح استخدامه مع العديد من أجهزة الحفر.

العيوب

1- كلما قل مقاس الماسوره داخل البئر كلما قل احكامه حولها.

2-مرحله واحده فقط من مانع التسريب فعند فشلها في العمل يفشل مانع التسريب ككل.

مانع الإنفجار المكبسي

Blowout Preventer diagram showing different types of rams. (a) blind ram (b) pipe ram and (c) shear ram.


Patent Drawing of a Varco Shaffer Ram BOP Stack. A shear ram BOP has cut the drillstring and a pipe ram has hung it off.
Schematic view of closing shear blades

يتكون من مكبسين يتحركان حركه معاكسه عرضيه لمنع لإحكام التسريب حول انابيب الحفر او حتى قطعها إذا لزم الأمر عند تشغيل مانع الإنفجار المكبسي يوجه ضغط الزيت الهيدروليكى لتشغيل زراع هيدروليكيه تقوم بتحريك ال ram في اتجاه ماسورة الحفر حيث يغلق كلا منهما حول الماسوره من خلال حشو كاوتش يتخذ نفس قياس ماسورة الحفر

التركيب الداخلي

يستخدم مانع الإنفجار في تركيبه تتكون عادة من ثلاث وحدات وهي:

1- pipe ram ويستخدم لإحكام التسريب حول انابيب الحفر.

2-blind ram ويستخدم لإغلاق فتحة البئر التى لا يوجد بها اى انابيب حفر.

3-shear ram ويستخدم للقطع خلال اى مواسير داخل البئر في حالة الطوارئ.

المميزات

Hydril Company's Compact BOP Ram Actuator Assembly Patent Drawing

1- أحكام جيد لفتحة البئر.

2- تعدد مراحله مما يوفر أقصى أمان.

3- أمكانية تشغيله يدوياً في حالة فشل التشغيل الهيدروليكي.

العيوب

1- يجب تغير مقاس الجهاز مع تغير قياس ماسورة الحفر.

2- يحتاج الى أعمال صيانه ومتابعة كثيرة.

3- تعدد وحدات الجهاز يؤدى الى كبر حجمه حيث يتعدى طوله ال30 متر في حالة الحفر البحرى الغاطس.


طرق التحكم

موانع الإنفجار الأفقية في المياه العميقة

A robotic arm of a Remotely Operated Vehicle (ROV) attempts to activate the "Deepwater Horizon" Blowout Preventer (BOP), Thursday, April 22, 2010.


انظر أيضاً

المصادر

  1. ^ "مانع الإنفجار". موقع بترولي. Retrieved 2012-11-12.

وصلات خارجية

الكلمات الدالة: