پريسكوپ

(تم التحويل من بريسكوب)
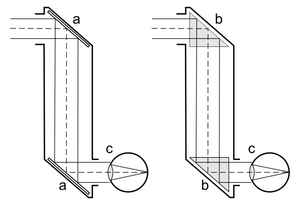
مبدأ الپريسكوپ. البريسكوب إلى اليسار يستعمل المرايا في الموقع "a" بينما البريسكوب إلى اليسار يستعمل مناشير في الموقع "b". الناظر في الموقع "c".

الپريسكوپ Periscope أداة بصرية يستطيع الشخص من خلالها الرؤية من شتى الزوايا، بعيدة كانت أم قريبة، وفي كل الاتجاهات، ويسمى المئفاق أو منظار الأفق. يستعمل البريسكوب المألوف على أنبوب طويل بمرآتين عاكستين عند طرفيه بحيث يكون السطحان العاكسان متوازيين توازيًا تامًّا دقيقًا، ومثبتين بزاوية مقدارها 45° على محور الأنبوب. وبعض مناظير الأفق تثبَّت بها عدسات تعمل على تكبير الأجسام التي تُرى من خلال الأنبوب.

يُعد البريسكوب اليوم، عاملاً مهمًّا في استخدام الأسلحة الحربية، كالغواصات والدبابات؛ فباستخدامه في الغواصات، يستطيع الضبّاط وهم في أعماق المياه أن يشاهدوا الأحداث التي تدور على السطح، كما يستطيعون تحرِّي أهدافهم وتحديد وجهاتهم. وبالاستعانة به أيضًا، يستطيع القادة الميدانيون أن يوجِّهُوا عملياتهم القتالية من داخل دباباتهم دون اللجوء إلى الخروج منها.

ومن ميزات بريسكوب الغواصات أنه يُمكن تحريكه إلى أعلى وأسفل، أو بشكل دائري، للبحث في نطاق دائري كامل. ومن المعروف أن الغواصات تجوب البحار في أعماق لاتتعدى ما يسمى العمق البريسكوبي، ولا يظهر على سطح الماء منها سوى البريسكوب.

ولا يُفهم مما تقدم أن البريسكوب لا يُستخدم إلاَّ في العمليات الحربية، فهناك عدد من هذه الأجهزة يستخدم في أغراض أخرى عديدة؛ فعلى سبيل المثال، فإن مهمة أكبر بريسكوب في العالم والذي يبلغ طوله 27 م هي حماية العاملين، وذلك في المختبر الهندسي الوطني المقام في مدينة إيداهو بالقرب من شلالات أيداهو بالولايات المتحدة. كما يستخدم العلماء البريسكوب أيضًا لمراقبة المفاعلات النووية أثناء عملها.

أمثلة مبكرة

پريسكوب خنادق بريطاني، كيپ هلس 1915

يوهان گوتنبرگ، الذي اشتهر باسهامه في تكنولوجيا الطباعة، كان يسوِّق بريسكوباً في عقد 1430 ليمكن الحجيج من الرؤية فوق رؤوس الجموع في الاحتفال الديني vigintennial في آخن. سيمون ليك استخدم بريسكوبات في غواصاته عام 1902. السير هوارد گرب أتقنه في الحرب الهالمية الأولى.[1] مورگان روبرتسون يدعى أنه سجـَّل براءة اختراع الپريسكوپ، ووصف غواصة تستخدم پريسكوپاً في أعماله الروائية.


الاستخدام البحري

ضابط على البريسكوب في غرفة التحكم في غواصة أمريكية في الحرب العالمية الثانية.
مدمرة يابانية مصابة بطوربيد، مصورة من پريسكوپ الغواصة الأمريكية U.S.S. Wahoo or U.S.S. Nautilus، يونيو 1942.


انظر أيضاً

المصادر

  1. ^ [1]

وصلات خارجية

الكلمات الدالة: